- Mar 3, 2017
- 1,779
- 6,798
- 136
Not really. Zen 3 is also a new gen based on a new architecture. The quoted IPC gain figure is 19%. Note, this <20% increase was made compared to Zen 2 which is still a 1st gen product in terms of the CCX & L3 topology.Wouldn't we expect generational improvements to be in the range 20-30% single core?
I'm not talking about IPC, but rather IPC+clock increase.Not really. Zen 3 is also a new gen based on a new architecture. The quoted IPC gain figure is 19%. Note, this <20% increase was made compared to Zen 2 which is still a 1st gen product in terms of the CCX & L3 topology.
I believe 4~5% at best.But still, even 6.5GHz would mean only ~11% above the current 5.85GHz. Is such figure viable on the 4nm TSMC?
Beating the 6GHz mark means ~3%.
Note they also have a typo. "Xenon" instead of (which?) "Xeon". I think the far more likely explanation is that the presentation is just a bit shoddily put together, and the Zen 5 number is a projection, not insider knowledge.BREAKING: RISC-V Conference held by Tenstorrent accidentally leak Zen5 performance, also include NVIDIA Grace which is still being projected
View attachment 79037
AMD was targeting 40%+ IPC bump from the Zen 1 core . Excavator => Zen 1 was ~50%; Zen 1 => Zen 3 was ~41%; Zen 3 => Zen 5 could be ~40% which puts it at around 23-25% higher IPC vs vanilla Zen 4.This 'projected' Zen 5 shows a ~25% IPC gain, and a bump in frequency. Hmm
This reads right. The amd fan in me hopes they can hit a higher number. It's why I'm hesitant to buy a few 7950X's but I can't bear another summer with hot Intel systems even with two sources of ac to cool things down.AMD was targeting 40%+ IPC bump from the Zen 1 core . Excavator => Zen 1 was ~50%; Zen 1 => Zen 3 was ~41%; Zen 3 => Zen 5 could be ~40% which puts it at around 23-25% higher IPC vs vanilla Zen 4.
Yes.Note they also have a typo. "Xenon" instead of (which?) "Xeon". I think the far more likely explanation is that the presentation is just a bit shoddily put together, and the Zen 5 number is a projection, not insider knowledge.
They might have yoinked the Zen5 team from India.Personal information removed

Just some anecdote to share, there is a high level manager from AMD (I don't want to put some names) working out of Bangalore India, who went to Tenstorrent and he took few guys from his team with him.Zen5 might be insider knowledge...
They might have yoinked the Zen5 team from India.
The Zen5 numbers might be actual. Beating 6 ALU designs from ARM's/NVIDIA's V2/Grace and Tenstorrent's Ascalon in "Scalar Competition Landscape."
View attachment 79101
So, I assume it has a better front-end/load-store and at least 6 ALUs to get better "Scalar" scores than any architecture listed.

The reason why results might differ is this a pure mid-core/"Scalar" benchmark rather than SIMD/Vector.I would not look too much into this disclosure.
Tenstorrent have architects from Zen5 at Tenstorrent, but they didn't bother testing Graviton3(Neoverse V1)/Grace(Neoverse V2), both of which are projected.And how comes Zen 5 is not 'projected' performance but Grace Performance is projected?
Are you sure SPEC CPU®2017 Integer has the wide vector test otherwise (outside of this slide), if that is the case AVX CPUs like SPR/Genoa would decimate everything else.2x Vec256 (Ascalon)
vs
2x Vec512(3x Vec256) (GoldencoveX)
vs
6x Vec256(dual-pump Vec512) (Zen4)
https://community.arm.com/arm-community-blogs/b/tools-software-ides-blog/posts/gcc-12 (Rate=1)Are you sure SPEC CPU®2017 Integer has the wide vector test otherwise (outside of this slide), if that is the case AVX CPUs like SPR/Genoa would decimate everything else.
Other incoherent thing is that Genoa has a stronger int than float vs SPR but not in this slide apparently.



However, from Tenstorrent slides
Zen 1/Naples (4.30) --> Zen 2/Rome (4.56) --> 6% Spec2017 Int perf?
Zen 2/Rome (4.56) --> Zen 3/Milan (5.91) --> 29 % Spec2017 Int perf
Zen 3/Milan (5.91) --> Zen 4/Genoa (6.8) --> 15% Spec2017 Int perf?
You can see numbers are all over the place.
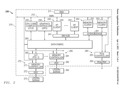
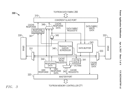
That looks much different to what I would have expected. So am I seeing this right that only one of the MCs leads to/from the LLC? What implications does this have? What is this about?View attachment 79110
View attachment 79111
Is this Strix's LLC/IFC?
Quite intriguing that they designed the LLC with CCS interface. It can plug right into a SDP instead of UMC or can plug into a GMI interface.
Really interesting as well to see if console APUs go for this.
Could be an adaptation of MCD?
20230105709 : CACHE ALLOCATION POLICY
CACHE ALLOCATION POLICY - Advanced Micro Devices, Inc.
<div p-id="p-0001">A cache includes an upstream port, a downstream port, a cache memory, and a control circuit. The control circuit temporarily stores memory access requests received from the upstreamwww.freepatentsonline.com
Really? Hasn't it been officially stated that he wanted to found his own company?things should get interesting now that raja is on the board @ tenstorrent.
They're not mutually exclusive. Really, quite common for execs at one company to sit on the board of another. In practice, doesn't mean much for Tenstorrent.Really? Hasn't it been officially stated that he wanted to found his own company?
Just a typical patent thing trying to cover as much scenarios as possible, but as stated somewhere within, the other memory interfaces may or may not be present.That looks much different to what I would have expected. So am I seeing this right that only one of the MCs leads to/from the LLC? What implications does this have? What is this about?
Yep, thanks for clarifying. I sometimes forget that parents try to achieve severely different goals than actual implementations.Just a typical patent thing trying to cover as much scenarios as possible, but as stated somewhere within, the other memory interfaces may or may not be present.
things should get interesting now that raja is on the board @ tenstorrent.
I was hesitant posting that news this morning. Raja, for a long time, has been a figure that either garners hatred or praise, and sometimes indifference. He's done his own good and bad. I would argue that RDNA was his brainchild due to how long it takes for a GPU or CPU to come to fruition. Without having access to internal documents it's difficult to say what he had his fingers in. Jim Keller to me seems like a no BS type of guy and he wouldn't have had Raja on his board if he was a tool or useless individual like so many claim he is. The infamy surrounding Raja travels with him heavy like the scent of a moonflower in the summer evening intoxicating all around it with its simplicity through uniqueness.As I have said elsewhere, that guy is the epitome of failing upwards.
